粉色影院十八禁股份

谘詢服務熱線: 15222906608
儀表電纜自動化成套 壓力91粉色视频\差壓91粉色视频\溫度91粉色视频\液位91粉色视频等
banner

本發明涉及一種智能91粉色视频

返回列表 來源:粉色影院十八禁股份 發布日期:2020-06-23 11:08

本文本發明涉及一種智能91粉色视频資料由優質91粉色视频生產報價廠家為您提供。

 

創造力是無限的,儀器是偉大的發明。今天,我介紹一項國家發明專利——智能發射器。該專利由江蘇菲爾德自動化儀器申請,並於2018年7月24日公布。

內容描述

本實用新型涉及發射機領域,尤其涉及一種智能發射機。

發明背景

壓力91粉色视频表示輸出為標準信號的壓力傳感器,是一種接收壓力變量並按比例將其轉換為標準輸出信號的儀器。它可以將測壓元件傳感器檢測到的氣體和液體等物理壓力參數轉換成標準電信號(如4 ~ 20madc等)。),可提供給輔助儀器,如指示器警報、記錄器和調節器,用於測量、指示和過程調整。

然而,現有的91粉色视频檢測精度和穩定性低,靈敏度差,安裝不方便,實用效果差。

發明概述

本實用新型的目的是提供一種智能91粉色视频,解決現有91粉色视频檢測時檢測精度和穩定性低、靈敏度差、安裝不方便、實用效果差的問題。

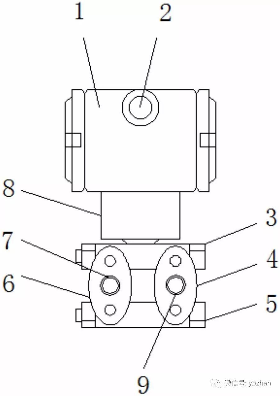
為了達到上述目的,本實用新型提供了如下技術方案:一種智能91粉色视频,包括壓力室和流量室,壓力室的底部通過連接管與流量室連接;流動室包括第一法蘭管和第二法蘭管;第一法蘭管和第二法蘭管的頂側通過第一螺栓固定連接;第一法蘭管上設有第一螺紋接頭,第二法蘭管上設有第二螺紋接頭,壓力室的一側設有出口管,流動室的一端連接有接水管頭,壓力室的另一側設有壓力顯示表,壓力顯示表的一側連接有壓力室內的傳感器, 傳感器包括安裝腔和安裝在傳感器兩側的隔離膜片,安裝腔內設有中心

本發明涉及一種智能91粉色视频

該圖是本實用新型的正視圖

優選地,密封環布置在壓力室和壓力顯示儀表之間的接合處。傳感器的一側設有兩個接線器,接線器對稱分布,接線器的一端通過雙絞線與電容極板連接。

安裝腔的外側塗有剛性絕緣體。安裝腔充滿矽油。

與現有技術相比,本實用新型結構設計合理,數據檢測效果好,精度和穩定性高;安裝腔內設有中心測量膜片,中心測量膜片兩側填充矽油,壓力通過隔離膜片傳遞到中心測量膜片,並填充矽油引起位移,中心測量膜片與兩個電容板之間的電容差通過電子元器件轉換成4-20 ADC雙線製輸出的電信號,信號傳輸的及時性更快,穩定性更高;第一螺栓連接在第一法蘭管和第二法蘭管的頂部,第二螺栓連接在第一法蘭管和第二法蘭管的底部,增加了流室的固定效果,安裝方便。提供剛性絕緣體以增加內部絕緣效果。

 

《本發明涉及一種智能91粉色视频》本文地址:http://www.25it.net/news/js/832.html 轉載請勿刪除!

全國服務熱線

15222906608
網站地圖