粉色影院十八禁股份

谘詢服務熱線: 15222906608
儀表電纜自動化成套 壓力91粉色视频\差壓91粉色视频\溫度91粉色视频\液位91粉色视频等
banner

熱門關鍵字:

全國服務熱線

15222906608
李哥單晶矽壓力91粉色视频參與傳感器中國2019

李哥單晶矽壓力91粉色视频參與傳感器中國2019

傳感器中國,亞洲傳感器產業的盛會,將於9月2日至4日開幕。傳感器中國將與全球合作夥伴攜手,關注產業趨勢,分享傳感器和物聯網領域的新技術和創新...
LEEG 壓力91粉色视频3月份產量同比增長48.5%!

LEEG 壓力91粉色视频3月份產量同比增長48.5%!

在政府部門的科學指導和李哥同事的共同努力下,李哥3月份單晶矽壓力91粉色视频產量同比增長48.5%,為2020年持續增長奠定了良好基礎! 這場突發的流行病嚴...
幹貨來了:壓力型安裝注意事項液位91粉色视频(也稱為輸入型液位91粉色视频)

幹貨來了:壓力型安裝注意事項液位91粉色视频(也稱為輸入型液位91粉色视频)

1.壓力公式液位91粉色视频不能用於超高溫、超量程和強磁場環境,嚴重影響液位計的精度和使用壽命。 2.測量靜態水位時,水位計應扔在容器底部,但不要接...
解決4~20mA91粉色视频常見故障的四項措施!以及8大類24種故障分析和解決方案!

解決4~20mA91粉色视频常見故障的四項措施!以及8大類24種故障分析和解決方案!

在工業中,4~20mA電流被廣泛用於傳輸模擬量。本文總結了4~20mA91粉色视频的四種典型故障及其解決方法,有助於粉色影院十八禁快速排除產品故障,正常使用模擬91粉色视频產...
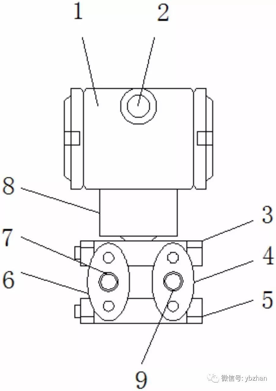
本發明涉及一種智能91粉色视频

本發明涉及一種智能91粉色视频

創造力是無限的,儀器是偉大的發明。今天,我介紹一項國家發明專利——智能發射器。該專利由江蘇菲爾德自動化儀器有限公司申請,並於2018年7月24日公...
戰爭流行病記錄壓力91粉色视频銷售服務物品

戰爭流行病記錄壓力91粉色视频銷售服務物品

上海瑞格儀器(LEEG)是單晶矽壓阻技術壓力91粉色视频的專業製造商,擁有超過15年的產品製造經驗和數十萬的產品應用經驗。它具有傳感器製造技術、傳輸模塊...
網站地圖